Запасные части ЧТЗ Запасные части ЧТЗ
Ростов-на-Дону
Например:
Актобе
Алдан
или
Выбрать автоматически
Актобе
Алдан
Алматы
Алчевск
Архангельск
Астана
Астрахань
Атырау
Баку
Балашиха
Барнаул
Белгород
Бердянск
Бишкек
Владивосток
Владикавказ
Воркута
Воронеж
Горловка
Грозный
Донецк
Екатеринбург
Иваново
Ижевск
Иркутск
Казань
Калининград
Каменск-Уральский
Караганда
Каховка
Кемерово
Киров
Комсомольск-на-Амуре
Костанай
Краснодар
Красноярск
Красный луч
Ленск
Луганск
Магадан
Магнитогорск
Макеевка
Махачкала
Мелитополь
Минск
Мирный (Якутия)
Москва
Мурманск
Нерюнгри
Нижневартовск
Нижний Новгород
Нижний Тагил
Новая каховка
Новокузнецк
Новосибирск
Новый Уренгой
Норильск
Ноябрьск
Нур-Султан
Омск
Оренбург
Ош
Павлодар
Пермь
Петрозаводск
Петропавловск
Петропавловск-Камчатский
Псков
Ростов-на-Дону
Салехард
Самара
Санкт-Петербург
Саратов
Севастополь
Семей
Симферополь
Сочи
Ставрополь
Сургут
Сыктывкар
Тараз
Ташкент
Токмак
Томск
Тында
Тюмень
Ульяновск
Усинск
Усть-Каменогорск
Уфа
Хабаровск
Ханты-Мансийск
Херсон
Челябинск
Чита
Шымкент
Экибастуз
Энергодар
Южно-Сахалинск
Якутск
Ваш город
Ростов-на-Дону
Войти
Запасные части к тракторам на одном сайте
+7 (932) 303-00-10
+7 (932) 303-00-10
г. Ростов-на-Дону, ул. Вавилова, д. 68
Пн-Пт: 9:30-18:30 Cб-Вс: Выходной
Отправить заявку


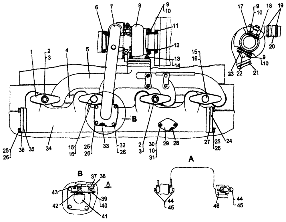
Установка коллекторов для дизеля с турбокомпрессором К27 на Т10М / Б10М


/
с НДС 20%
Описание
Установка коллекторов на Т10М (для дизеля с турбокомпрессором К27)
#Номер запчастиНаименование деталиКол-во в сборке
105688-1Планка4
23013Гайка2
3700-29-2210Шпилька2
4700-40-3880СППрокладка2
5700-21-14008Коллектор выпускной1
6700-22-1343Втулка переходная1
7700-21-5879СППатрубок1
8-Турбокомпрессор К271
9700-28-2585Болт8
10-Шайба 8Т 65Г 097
1151-54-30:92.264Кольцо уплотнительное1
12700-22-1342Вставка1
13700-30-2099-01Гайка8
14700-29-2354-01Шпилька4
15700-28-2486Болт2
163178Шайба2
17700-40-9071Прокладка1
1851-05-653Фланец1
1937-26-139СП
-
Хомут
Хомут червячный SGT 50-70/9
2
20700-40-3500Рукав1
21700-40-9066СППрокладка1
22700-40-491 СПТрубка1
23700-40-9070Прокладка1
2416-05-279-01Крышка1
25-Болт M10-6gx25.58.01910
26-Шайба 10 ОТ 65Г 0912
27700-40-7420Прокладка1
2846238Прокладка1
2916-05-433Крышка1
30-Гайка М8-7Н.6.0192
31-Шпилька 2M8x 3p/6g x25.66.0162
32-Болт M10-6gx20.58.0192
33700-40-2233Прокладка1
3451-05-299СПКоллектор впускной1
35700-40-7403Прокладка1
3651-05-325Крышка1
3751-05-150СП 1Трубка1
38-Клапан топливный электромагнитный 1102.3741 11
39-Болт М6-6gх16.88.019 14
40-Шайба 6Т 65Г 09 14
41700-21-6379СП 1Патрубок1
42-Кольцо 20x26 11
43-Свеча факельная штифтовая 1102.3740 11
4440938 1Кольцо6
45700-41-2932 1Штуцер3
4651-05-504СП 1Трубка1
1 При установке поз. 37-46.
Установка коллекторов для дизеля с турбокомпрессором К27