Запасные части ЧТЗ Запасные части ЧТЗ
Ростов-на-Дону
Например:
Актобе
Алдан
или
Выбрать автоматически
Актобе
Алдан
Алматы
Алчевск
Архангельск
Астана
Астрахань
Атырау
Баку
Балашиха
Барнаул
Белгород
Бердянск
Бишкек
Владивосток
Владикавказ
Воркута
Воронеж
Горловка
Грозный
Донецк
Екатеринбург
Иваново
Ижевск
Иркутск
Казань
Калининград
Каменск-Уральский
Караганда
Каховка
Кемерово
Киров
Комсомольск-на-Амуре
Костанай
Краснодар
Красноярск
Красный луч
Ленск
Луганск
Магадан
Магнитогорск
Макеевка
Махачкала
Мелитополь
Минск
Мирный (Якутия)
Москва
Мурманск
Нерюнгри
Нижневартовск
Нижний Новгород
Нижний Тагил
Новая каховка
Новокузнецк
Новосибирск
Новый Уренгой
Норильск
Ноябрьск
Нур-Султан
Омск
Оренбург
Ош
Павлодар
Пермь
Петрозаводск
Петропавловск
Петропавловск-Камчатский
Псков
Ростов-на-Дону
Салехард
Самара
Санкт-Петербург
Саратов
Севастополь
Семей
Симферополь
Сочи
Ставрополь
Сургут
Сыктывкар
Тараз
Ташкент
Токмак
Томск
Тында
Тюмень
Ульяновск
Усинск
Усть-Каменогорск
Уфа
Хабаровск
Ханты-Мансийск
Херсон
Челябинск
Чита
Шымкент
Экибастуз
Энергодар
Южно-Сахалинск
Якутск
Ваш город
Ростов-на-Дону
Войти
Запасные части к тракторам на одном сайте
+7 (932) 303-00-10
+7 (932) 303-00-10
г. Ростов-на-Дону, ул. Вавилова, д. 68
Пн-Пт: 9:30-18:30 Cб-Вс: Выходной
Отправить заявку


Система смазки трансмиссии на Т-170


/
с НДС 20%
Описание
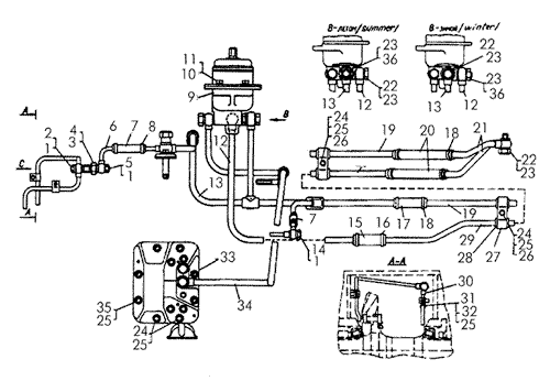
Система смазки трансмиссии Т-170
Поз.НаименованиеАртикулКол-во в сборке
0Система смазки трансмиссии24-60-1СП1
0Система смазки трансмиссии болотоходных тракторов20-60-3СП1
0Труба20-60-119СП1
1Штуцер700-41-32491
2Кольцо 409116
3Ниппель700-41-29761
4Кольцо24Х301
5Штуцер700-41-29741
6Труба24-60-144СП1
7Рукав700-40-34811
8Хомут700-41-2235-37СП2
9Фильтр50-60-214СП1
10Болт 28162
11Шайба12ОТ65Г092
12Труба50-60-216СП1
13Труба50-60-215СП1
14Зажим700-41-32481
15Рукав700-46-21851
16Хомут700-41-2228СП6
17Рукав700-46-21851
18Хомут700-41-2228СП6
19Труба50-60-2292
20Рукав700-46-2185-012
21Труба21-09-115СП2
22Болт полый700-41-33065
23Кольцо 4091012
24БолтМ10Х25.58.0197
25Шайба10ОТ65Г0915
26Шайба313082
27Прижим 50-60-2306
28Муфта422121
29Труба50-60-2571
30Труба24-60-151СП1
31Скоба84142
32БолтМ10Х18.58.0192
33Насос 50-60-200СП1
34Труба50-60-203СП1
34Труба20-60-121СП1
35БолтМ10Х30.58.0196
36Упор50-60-2561
Система смазки трансмиссии