Запасные части ЧТЗ Запасные части ЧТЗ
Ростов-на-Дону
Например:
Актобе
Алдан
или
Выбрать автоматически
Актобе
Алдан
Алматы
Алчевск
Архангельск
Астана
Астрахань
Атырау
Баку
Балашиха
Барнаул
Белгород
Бердянск
Бишкек
Владивосток
Владикавказ
Воркута
Воронеж
Горловка
Грозный
Донецк
Екатеринбург
Иваново
Ижевск
Иркутск
Казань
Калининград
Каменск-Уральский
Караганда
Каховка
Кемерово
Киров
Комсомольск-на-Амуре
Костанай
Краснодар
Красноярск
Красный луч
Ленск
Луганск
Магадан
Магнитогорск
Макеевка
Махачкала
Мелитополь
Минск
Мирный (Якутия)
Москва
Мурманск
Нерюнгри
Нижневартовск
Нижний Новгород
Нижний Тагил
Новая каховка
Новокузнецк
Новосибирск
Новый Уренгой
Норильск
Ноябрьск
Нур-Султан
Омск
Оренбург
Ош
Павлодар
Пермь
Петрозаводск
Петропавловск
Петропавловск-Камчатский
Псков
Ростов-на-Дону
Салехард
Самара
Санкт-Петербург
Саратов
Севастополь
Семей
Симферополь
Сочи
Ставрополь
Сургут
Сыктывкар
Тараз
Ташкент
Токмак
Томск
Тында
Тюмень
Ульяновск
Усинск
Усть-Каменогорск
Уфа
Хабаровск
Ханты-Мансийск
Херсон
Челябинск
Чита
Шымкент
Экибастуз
Энергодар
Южно-Сахалинск
Якутск
Ваш город
Ростов-на-Дону
Войти
Запасные части к тракторам на одном сайте
+7 (932) 303-00-10
+7 (932) 303-00-10
г. Ростов-на-Дону, ул. Вавилова, д. 68
Пн-Пт: 9:30-18:30 Cб-Вс: Выходной
Отправить заявку


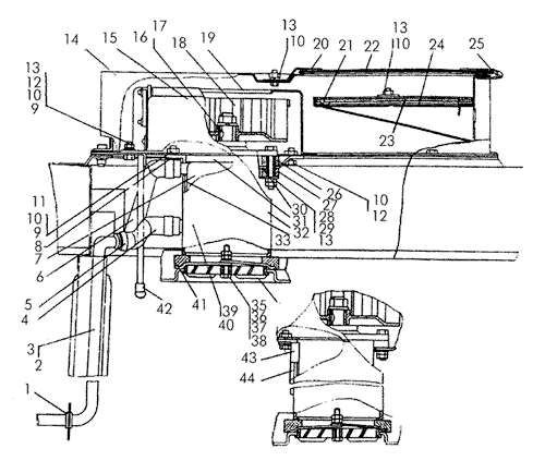
Отопитель-вентилятор на Т-170


/
с НДС 20%
Описание
Отопитель-вентилятор Т-170
Поз.НаименованиеАртикулКол-во в сборке
0Отопитель-вентилятор 50-47-140СП1
0Электродвигатель5917.37301
1Кольцо418792
2Трубка50-47-1371
3Трубка50-47-1361
4Рукав700-46-2123-051
5Хомут700-41-2235-06СП1
6Рукав700-46-2123-041
7Радиатор отопителя ОТ 2.13.0101
8Накладка50-47-942
9Шайба31386-18
10Шайба8Т65Г0915
13ГайкаМ8Х6.0194
14Кожух50-47-132СП1
15Корпус50-47-163СП1
16Шпонка700-34-20391
17Шпонка700-34-20391
18Крыльчатка 50-47-134СП1
19Основание50-47-133СП1
20Накладка50-47-774
21Рамка50-47-752
22Крышка50-47-152СП1
23Фильтр50-47-761
24Уплотнение700-40-76531
25Стержень50-47-931
26Втулка18-26-5381
27Прокладка700-40-61252
28Планка60-47-162
29Болт700-28-2176-011
30Фланец50-47-741
31Уплотнение700-40-76522
32Кожух50-47-731
33Прокладка700-40-61152
34Воздухораспределитель50-47-441
35Зажим50-47-451
36БолтМ6Х25.58.0191
37ГайкаМ6-7Н.6.0192
38Шайба31358-11
39Электродвигатель591.37301
40ЭлектродвигательДВОЗ1
41Уплотнение700-40-65231
42Рукоятка17-74-2071
43Уплотнение700-40-7081-011
44Уплотнение700^0-7081-021
Отопитель-вентилятор